联系电话:
138 8333 9339
产品详情
产品概述
消防沟槽明杆闸阀的闸板随阀杆一起作直线运动,通常在升降杆上有梯形螺纹,通过阀门顶端的螺母以及阔体上的导槽,将旋转运动变为直线运动,也就是将操作转矩变为操作推力。转动手轮,通过手轮与阀杆的螺纹的进退提升或下降与阀杆链接的阀板,达到开启和关闭的目的。明杆闸阀的启闭件是闸板,闸板的运动方向与流体方向相垂直,闸阀只能作全开和全关,不能作调节和节流。

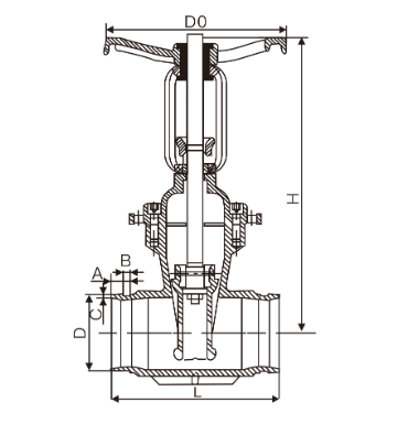
主要外形连接尺寸
| 公称通径 | 50 | 65 | 80 | 100 | 125 | 150 | 200 | 250 | 300 | |||
| D | 57 | 60 | 76 | 89 | 108 | 114 | 133 | 159 | 219 | 273 | 325 | |
| 140 | 165 | |||||||||||
| A1 | 14.5 | 14.5 | 14.5 | 16 | 16 | 16 | 19 | 19 | 19 | |||
| BA | 9.5 | 9.5 | 9.5 | 9.5 | 9.5 | 9.5 | 13 | 13 | 13 | |||
| C | 2.2 | 2.2 | 2.2 | 2.2 | 2.2 | 2.2 | 2.5 | 2.5 | 3.3 | |||
L | 145 | 160 | 170 | 180 | 200 | 240 | 275 | 325 | 355 | |||
H | 325 | 455 | 455 | 455 | 500 | 620 | 750 | 880 | ||||
| D0 | 180 | 200 | 200 | 200 | 240 | 320 | 320 | 400 | ||||

办公地址:天津市东丽区金钟街道金钟公路3699号G11-114
厂区地址:天津市北辰区西堤头镇工业区华康北道17号


津公网安备 12011002023009号