联系电话:
138 8333 9339
产品详情
产品概述
斯派莎克蒸汽减压阀是本公司成功研制开发的新型减压阀,本产品在普通减压阀的基础上做了很大的改进。膜片采用了新型材料,并加大了工作面积,因此阀门上游压力或下游负荷细微的变化,都能及时的反馈到主阀膜片来调节主阀的开度,确保下游压力的稳定。

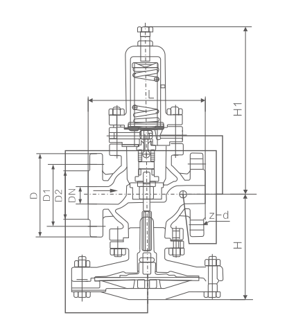
主要外形尺寸
公称通径DN | L | D | D1 | D2 | H | H1 | z-d | |||
1.6 | 2.5 | 1.6 | 2.5 | 1.6/2.5 | 1.6/2.5 | 1.6/2.5 | 1.6 | 2.5 | ||
20 | 185 | 105 | 105 | 75 | 75 | 56 | 152 | 297 | 4-14 | 4-14 |
25 | 185 | 115 | 115 | 85 | 85 | 65 | 152 | 297 | 4-14 | 4-14 |
32 | 200 | 140 | 140 | 100 | 100 | 76 | 181 | 316 | 4-18 | 4-18 |
40 | 220 | 150 | 150 | 110 | 110 | 84 | 181 | 316 | 4-18 | 4-18 |
50 | 250 | 165 | 165 | 125 | 125 | 99 | 181 | 316 | 4-18 | 4-18 |
65 | 280 | 185 | 185 | 145 | 145 | 118 | 342 | 351 | 4-18 | 4-18 |
80 | 310 | 200 | 200 | 160 | 160 | 132 | 342 | 351 | 4-18 | 4-18 |
100 | 350 | 220 | 235 | 180 | 190 | 156 | 413 | 383 | 8-18 | 8-22 |
125 | 410 | 250 | 270 | 210 | 220 | 184 | 413 | 383 | 8-18 | 8-26 |
150 | 450 | 285 | 300 | 240 | 250 | 211 | 490 | 407 | 8-22 | 8-26 |

办公地址:天津市东丽区金钟街道金钟公路3699号G11-114
厂区地址:天津市北辰区西堤头镇工业区华康北道17号


津公网安备 12011002023009号